| 您所在的位置: 福建省互联网辟谣平台 > 联动辟谣 |

网传消息截图
近日,网上热传“女子记录自己到殡仪馆上班,夜班1600元一晚”消息,引发网民的关注。消息称:河南一女子自称殡仪馆上班,白班一天800元,夜班一天1600元,这是大商机,女子称还有比穷更可怕的事吗?

网传消息截图
福建辟谣查证,网传消息不实!
网民热议:
@后来没有啦:别人为了赚钱随便造谣,不要给她道歉就完事。
@油爆小酥肉:这种造谣就应该受法律制裁。
@晓泊舟:让视频作者为自己的行为买单。让大众知道网络段子绝不是博眼球的流量密码。
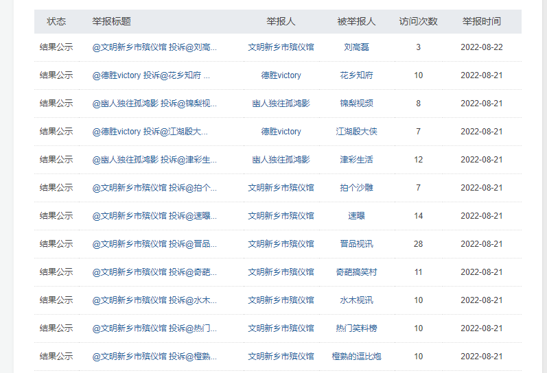
8月21日,新乡市殡仪馆官方微博“文明新乡市殡仪馆”向微博社区管理中心对该网传消息进行投诉,并声明:近期有人在网络上冒充新乡市殡仪馆职工,编造不实言论,造成不良社会影响。相关部门已向平台举报,并协调律师进行下一步处理,必要时将法律诉讼!再次重申,网络不是法外之地,造谣传谣都将受到法律制裁!

文明新乡市殡仪馆微博截图

新浪微博社区管理中心页面截图
福建辟谣平台注意到,2019年网上曾流传消息称:“深圳市宝安区殡仪馆招聘流动式扛尸搬运工,要求胆大的男性。白班800/天,晚班1600/天,日结。”深圳市民政局公开辟谣指出,宝安区未设立殡仪馆,网传招聘信息均为谣言。

深圳市民政局微博截图
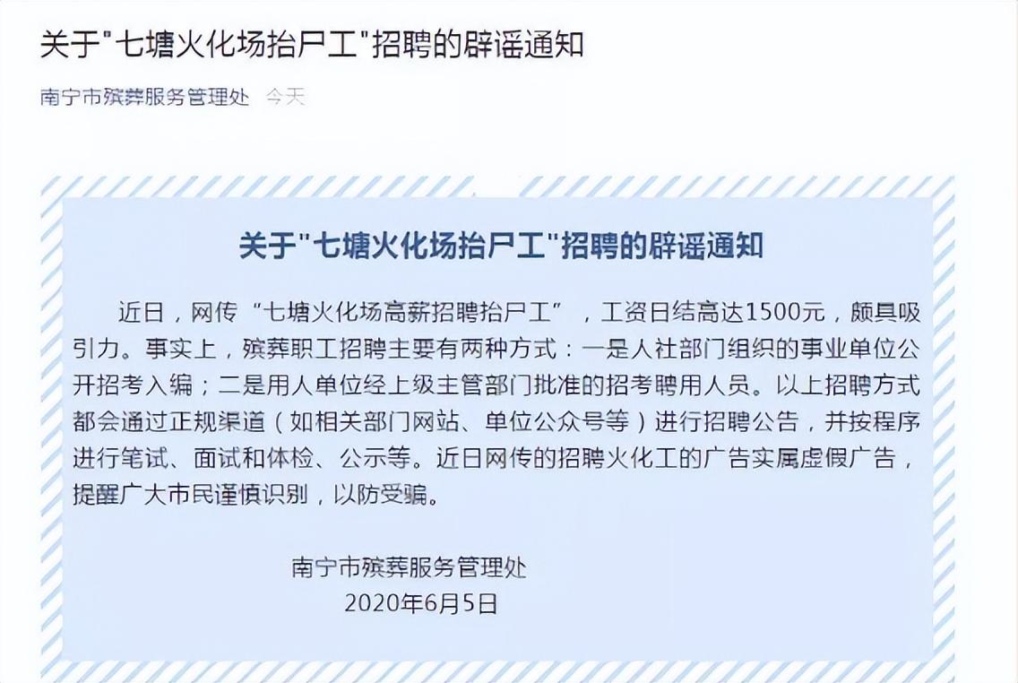
2020年6月,南宁市殡葬服务管理处声明:"七塘火化场招聘抬尸工日结工资高达1500元”系谣言。

南宁市殡葬服务管理处文章截图
福建辟谣提醒:
请广大网民遵守相关法律法规,务必以权威机构发布的信息为准,增强主动辨识谣言、抵制谣言的自觉性,不要随意在网上发布、传播未经证实的内容,不信谣,不传谣,共同维护清朗和谐的网络环境。
| 欢迎扫码关注 |
| 闽辨真伪 |
| 联动辟谣 |
国新办发函[2001]232号 闽ICP备案号(闽ICP备05022042号) 互联网新闻信息服务许可证 编号:35120170001 网络文化经营许可证 闽网文〔2019〕3630-217号
信息网络传播视听节目许可(互联网视听节目服务/移动互联网视听节目服务)证号:1310572 广播电视节目制作经营许可证(闽)字第085号
网络出版服务许可证 (署)网出证(闽)字第018号 增值电信业务经营许可证 闽B2-20100029 互联网药品信息服务(闽)-经营性-2015-0001